EVAL-CN0577-FMCZ

Analog Front End and Digital Interface for Serial LVDS SAR ADCs.

Overview

https://media.githubusercontent.com/media/plescaevelyn/adi-documentation/cn0575-blinky-loopback/docs/solutions/reference-designs/eval-cn0577-fmcz/cn0577_1.jpg

Figure 1 EVAL-CN0577-FMCZ Board

Instrumentation applications such as flow cytometry, optical pulse measurement, fast control loops, fast digital distortion correction, and image sensor digitization present unique data acquisition challenges. These applications often require a combination of high sample rate, high linearity, low drift, low noise, and low latency.

The EVAL-CN0577-FMCZ is an 18-bit, 15 MSPS, 2 ppm linear data acquisition system with an easy to drive input impedance of 1.1 kΩ. The analog input range is 8.096 V peak-to-peak and can be driven in either single-ended or differential mode, providing flexibility for many different applications.

The circuit is in field programmable gate array (FPGA) mezzanine card (FMC) form factor, powered with 12 V either from the FMC connector or an external supply. The digital interface uses serial low voltage differential signaling (LVDS), minimizing the input/output requirements and enabling easy integration with other FPGA designs

A separate data clock eases the timing requirements of the host FPGA. An on-board 120 MHz clock is forwarded to the FPGA and a CONVERT retiming flip-flop reduces jitter from the convert signal of the FPGA.

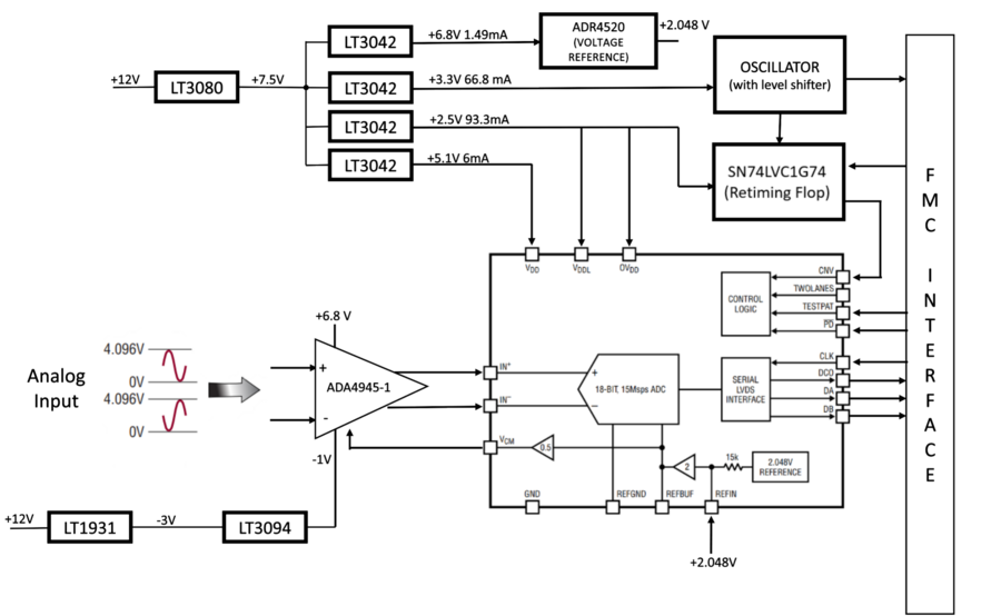
Simplified Functional Block Diagram

https://media.githubusercontent.com/media/plescaevelyn/adi-documentation/cn0575-blinky-loopback/docs/solutions/reference-designs/eval-cn0577-fmcz/cn0577_block_diag.png

Figure 2 CN0577 Simplified Block Diagram

Features

  • 15 MSPS Throughput Rate

  • Guaranteed 18-Bit, No Missing Codes

  • No Pipeline Delay, No Cycle Latency

  • 96 dB SNR (Typical)

  • 164.5 dB dynamic range

  • 2 ppm INL (Typical)

  • Serial LVDS Digital Interface

  • Flexible analog input drive (single-ended or differential mode)

  • On-board 120 MHz precision voltage-controlled crystal oscillator (VCXO)

Hardware Configuration

Block Assignments

https://media.githubusercontent.com/media/plescaevelyn/adi-documentation/cn0575-blinky-loopback/docs/solutions/reference-designs/eval-cn0577-fmcz/cn0577_block_terminal.png

Figure 3 CN0577 Block Assignments

Connector Name

Operation

Description

Settings/Ranges

P1

Power Down (PD) Mode

When PD is high CN0577 will operate normally, but when PD is low CN0577 board enters power-down mode and all circuitry (including LVDS interface) is shutdown.

PD = High (Pins 1 and 2)

PD = Low (Pins 2 and 3)

P2

Test Pattern (TESTPAT)

Forces the LVDS data outputs to be a test pattern. When TESTPAT is high digital outputs are a test pattern, and when TESTPAT is low digital outputs are the ADC conversion result.

TESTPAT = High (Pins 1 and 2) TESTPAT = Low (Pins 2 and 3)

P3

Lane Mode Selection

The ADC outputs two bits at a time on DA-/DA+ and DB-/DB+ when two-lane output mode is high, and the ADC outputs one bit at a time on DA-/DA+ and DB-/DB+ when two-lane output mode is low.

TWOLANES = High (Pins 1 and 2)

TWOLANES = Low (Pins 2 and 3)

P4

FMC Connector (LPC)

Low pin count FMC connector used to connect the EVAL-CN0577-FMCZ hardware to various different FPGA development boards and kits.

N/A

J1

Positive Analog Input

This is the positive input to the EVAL-CN0577-FMCZ, which connects to external signal sources via an SMA connection.

0V to 4.096 V

J2

Negative Analog Input

This is the negative input to the EVAL-CN0577-FMCZ, which connects to external signal sources via an SMA connection.

0V to -4.096 V

J3

External Clock

If an external clocking source is desired in your system this is where you will need to connect it. Along with connecting it you will also need to update the solder jumper (JP14) to change from the onboard crystal oscillator.

On-board Crystal Oscillator (default 120 MHz)

JP14

External source (120 MHz desired)

Power Supply

Power to the EVAL-CN0577-FMCZ comes directly from the +12 V supply provided through the FMC connector.

https://media.githubusercontent.com/media/plescaevelyn/adi-documentation/cn0575-blinky-loopback/docs/solutions/reference-designs/eval-cn0577-fmcz/power_supply_1.png

Figure 4 CN0577 Power Supply

Analog Inputs

The SMA connectors on the EVAL-CN0577-FMCZ (VIN+ and VIN−) provide analog inputs from a low noise, audio precision signal source (such as the Audio Precision audio analyzer).

Onboard Clock Reference

The EVAL-CN0577-FMCZ clock diagram is shown in the figure below. An onboard 120 MHz voltage controlled crystal oscillator is used to provide the clock for the EVAL-CN0577-FMCZ and the FPGA. This ultralow noise oscillator has a typical phase noise of -162 dBc/Hz at 10 kHz offset, a tuning voltage range of 0 V to 3.3 V, and a frequency pulling range of 28 ppm to 55 ppm. Additionally, this crystal oscillator has an RMS jitter of <50 fs to 100 fs at 100 MHz carrier.

The clock is fanned out to the retiming flip-flop and the FPGA. An ADG3241 level shifter converts the clock’s 3.3 V logic level to the 2.5 V level required by the retiming flip-flop. An ADN4661 converts the 3.3 V clock to LVDS signaling, which is then forwarded to a global clock connection on the FMC connector.

https://media.githubusercontent.com/media/plescaevelyn/adi-documentation/cn0575-blinky-loopback/docs/solutions/reference-designs/eval-cn0577-fmcz/cn0577_clock.png

Figure 5 CN0577 Onboard Clock Reference

External Clock Reference Option

If the EVAL-CN0577-FMCZ is to be synchronized to other circuits, or if tighter frequency accuracy or drift frequency drift is required, an external clock can be applied to the external clock connector (J3). Along with connecting it, you will also need to update the solder jumper (JP14) to change from the onboard crystal oscillator. If the external clock frequency is significantly higher or lower than the on-board 120 MHz clock, reanalyze the entire circuit including the FPGA timing constraints.

https://media.githubusercontent.com/media/plescaevelyn/adi-documentation/cn0575-blinky-loopback/docs/solutions/reference-designs/eval-cn0577-fmcz/jp14.png

Figure 6 External Clock Option

The external clock circuitry also includes a high speed single inverter that provides AC coupling and balances the rise and fall times. This device has a typical time propagation delay of 2.4 ns and achieves a high output drive, while maintaining low static power dissipation over a broad VCC operating range.

System Setup

Demo Requirements

The following is the list of items needed in order to replicate this demo.

Hardware

  • EVAL-CN0577-FMCZ Circuit Evaluation Board

  • ZedBoard (AES-Z7EV-7Z020-G)

  • 12 V power supply

  • Host PC

  • SD card (16 GB or larger)

  • LAN cable

  • SMA cables

  • XLR to SMA adapter cable

  • Audio analyzer (Audio Precision© APX525) or other input source (e.g., ADALM2000)

If using ADALM2000 as input source:

Software

For the device to run, the SD card should be loaded with Analog Devices Kuiper Linux. It incorporates Linux device drivers for ADI products as well as tools and other software products designed and created with ease of use in mind. The reasoning behind creating this distribution is to minimize the barriers to integrating ADI hardware devices into a Linux-based embedded system.

Access to the embedded system can be through a remote PC connected either via LAN cable or Wi-Fi.

Loading Image on SD Card

In order to control the EVAL-CN0577-FMCZ, you will need to install ADI Kuiper Linux on an SD card. Complete instructions, including where to download the SD card image, how to write it to the SD card, and how to configure the system are provided in the Kuiper documentation.

When configuring the SD Card follow instructions for Xilinx projects.

  • Directory on SD image: cn0577_zed

  • Image files on SD card: zynq-common

System Block Diagram

https://media.githubusercontent.com/media/plescaevelyn/adi-documentation/cn0575-blinky-loopback/docs/solutions/reference-designs/eval-cn0577-fmcz/sys_block_diag.png

Figure 7 CN0577 System Block Diagram

Running the System

To set up the complete system using Audio Precision audio analyzer as input source, follow these steps:

  1. Download and install the IIO Oscilloscope application on the PC, Mac, or Linux host.

  2. Load the Analog Devices Kuiper Linux image onto the SD card.

  3. Configure the SD card for the EVAL-CN0577-FMCZ.

  4. Place the SD card into the ZedBoard.

  5. Connect EVAL-CN0577-FMCZ to the ZedBoard through the FMC pin connector.

  6. Connect the 12 V power supply jack on the ZedBoard.

  7. Plug in the LAN cable from the ZedBoard to the host computer.

  8. Connect the EVAL-CN0577-FMCZ to the Audio Precision audio analyzer using the XLR to SMA adapter cable.

  9. Connect the ground of the EVAL-CN0577-FMCZ to the Audio Precision audio analyzer.

  10. Connect the Audio Precision audio analyzer USB cable to PC.

  11. Run the IIO Oscilloscope software and capture the resulting ADC data.

https://media.githubusercontent.com/media/plescaevelyn/adi-documentation/cn0575-blinky-loopback/docs/solutions/reference-designs/eval-cn0577-fmcz/demo_with_ap.png

Figure 8 CN0577 Evaluation Setup

Using ADALM2000 as input source:

  1. Download and install the IIO Oscilloscope application on the PC, Mac, or Linux host.

  2. Load the Analog Devices Kuiper Linux image onto the SD card.

  3. Configure the SD card for the EVAL-CN0577-FMCZ.

  4. Place the SD card into the ZedBoard.

  5. Connect EVAL-CN0577-FMCZ to the ZedBoard through the FMC pin connector.

  6. Connect the 12 V power supply jack on the ZedBoard.

  7. Plug in the LAN cable from the ZedBoard to the host computer.

  8. Connect the AD-M2KBNC-EBZ to the ADALM2000.

  9. Connect the ADALM2000 to EVAL-CN0577-FMCZ using BNC to SMA cable (W1 to J1 and W2 to J2)

  10. Plug the ADALM2000 to the host PC. Open Scopy and use the Signal Generator feature to set input. More information on using the Signal Generator.

  11. Run the IIO Oscilloscope software and capture the resulting ADC data.

https://media.githubusercontent.com/media/plescaevelyn/adi-documentation/cn0575-blinky-loopback/docs/solutions/reference-designs/eval-cn0577-fmcz/demo_with_m2k.png

Figure 9 CN0577 Setup with ADALM2000 Portable Oscilloscope

Software

The EVAL-CN0577-FMCZ is supported with the Libiio library. This library is cross-platform (Windows, Linux, Mac) with language bindings for C, C#, Python, MATLAB, and others. Two easy to examples that can be used with the EVAL-CN0577-FMCZ are:

Connection

To be able to connect your device, the software must be able to create a context. The context creation in the software depends on the backend used to connect to the device as well as the platform where the EVAL-CN0577-FMCZ is attached. The platform currently supported for the CN0557 is the ZedBoard through the ADI Kuiper Linux. The user needs to supply a URI which will be used in the context creation. The Libiio is a library for interfacing with IIO devices.

Install the Libiio package on your machine.

The iio_info command is a part of the libIIO package that reports all IIO attributes.

Upon installation, simply enter the command on the terminal command line to access it.

For Windows machine connected to ZedBoard via Ethernet cable

Using SSH Terminal Software:

Open SSH Terminal Software (PuTTY, TeraTerm or similar). User should now start the PuTTY application and enter certain values in the configuration window. In the terminal, run:

user@analog:~$
iio_info -u ip:<ip_address>

Using Command Terminal:

~$
iio_info -s

Prompting this on the command terminal in your windows PC will give you the ip address to access the EVAL-CN0577-FMCZ.

~$
ssh analog@<ip_address>
user@analog:~$
iio_info -u ip:<ip_address>

IIO Commands

There are different commands that can be used to manage the device being used. The iio_attr command reads and writes IIO attributes.

~$
iio_attr [OPTION]...

Example:

To look at the context attributes, enter this code on the terminal:

~$
iio_attr -a -C

IIO Oscilloscope

Download

Make sure to download/update to the latest version of IIO Oscilloscope at ADI IIO Oscilloscope repository (releases)

  1. Once done with the installation or an update of the latest IIO Oscilloscope, open the application. The user needs to supply a URI which will be used in the context creation of the IIO Oscilloscope and the instructions can be seen from the previous section.

  2. Press refresh to display available IIO Devices, once ltc2387 appeared, press connect.

https://media.githubusercontent.com/media/plescaevelyn/adi-documentation/cn0575-blinky-loopback/docs/solutions/reference-designs/eval-cn0577-fmcz/577_osc.png

Figure 10 IIO Oscilloscope Connection

Debug Panel

Below is the Debug panel of ltc2387 wherein you can directly access the attributes of the device.

https://media.githubusercontent.com/media/plescaevelyn/adi-documentation/cn0575-blinky-loopback/docs/solutions/reference-designs/eval-cn0577-fmcz/577_debug_panel.png

Figure 11 CN0577 Debug Panel

DMM Panel

Access the DMM panel to see the instantaneous reading of the ADC voltages and the device temperature.

https://media.githubusercontent.com/media/plescaevelyn/adi-documentation/cn0575-blinky-loopback/docs/solutions/reference-designs/eval-cn0577-fmcz/577_dmm_panel.png

Figure 12 CN0577 DMM Panel

Pyadi-IIO

PyADI-IIO is a python abstraction module for ADI hardware with IIO drivers to make them easier to use.

This module provides device-specific APIs built on top of the current libIIO python bindings. These interfaces try to match the driver naming as much as possible without the need to understand the complexities of libIIO and IIO.

Running the Example

After installing and configuring PYADI-IIO in your machine, you are now ready to run python script examples. In our case, run the ltc2387_example.py found in the examples folder.

  1. Connect the EVAL-CN0577-FMCZ to the ZedBoard.

  2. Open command prompt or terminal and navigate through the examples folder inside the downloaded or cloned pyadi-iio directory.

  3. Run the example script using the command.

/path/to/pyadi-iio/examples$
python3 ltc2387_example.py

Running example with ADALM2000 with the setting below:

https://media.githubusercontent.com/media/plescaevelyn/adi-documentation/cn0575-blinky-loopback/docs/solutions/reference-designs/eval-cn0577-fmcz/scopy_diff_input.png

Figure 13 CN0577 Sample Output in Scopy

The expected output should look like this:

https://media.githubusercontent.com/media/plescaevelyn/adi-documentation/cn0575-blinky-loopback/docs/solutions/reference-designs/eval-cn0577-fmcz/output_time_domain.png

Figure 14 CN0577 Time Domain Output

GitHub link for the python sample script: CN0577 Python Example

Schematic, PCB Layout, Bill of Materials

Download

EVAL-CN0577-FMCZ Design & Integration Files

  • Schematics

  • PCB Layout

  • Bill of Materials

  • Allegro Project

  • LTspice Simulation File

Reference Demos & Software

Registration

Receive software update notifications, documentation updates, view the latest videos, and more when you register your hardware. Register to receive all these great benefits and more!

HDL Reference design

The HDL Reference Design is documented at CN0577 HDL project.