AD9084-FMCA-EBZ (Apollo)

Apollo MxFE Quad, 16-Bit, 28GSPS RF DAC and Quad, 12-Bit, 20 GSPS RF ADC.

https://media.githubusercontent.com/media/plescaevelyn/adi-documentation/apard-spoe_prod_test/docs/solutions/reference-designs/images/ad9084.png

Overview

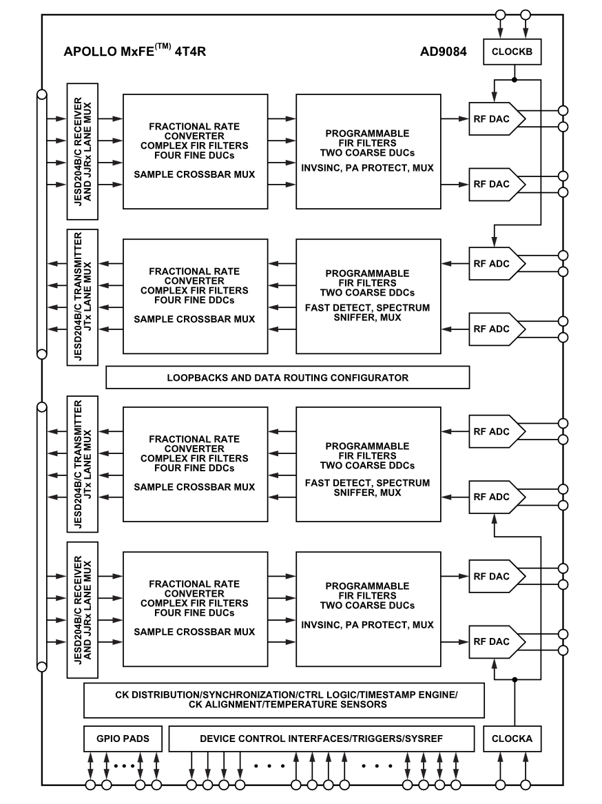
The EVAL-AD9084 is an FMC radio card for the AD9084, mixed signal front end (MxFE®), highly integrated device with a 16-bit, 28 GSPS maximum sample rate, RF digital-to-analog converter (DAC) core, and 12-bit, 20 GSPS maximum sample rate, RF analog-to-digital converter (ADC) core. The AD9084 supports four transmit channels and four receive channels.

The AD9084 is well suited for applications requiring both wideband ADCs and DACs to process signal(s) having wide instantaneous bandwidth. The device features a 48 lane, 32.5 Gbps JESD204C or 20 Gbps JESD204B data transceiver port, an on-chip clock multiplier, and a digital signal processing (DSP) capability targeted at either wideband or multiband, direct to RF applications.

The AD9084 also features a bypass mode that allows the full bandwidth capability of the ADC and/or DAC cores to bypass the DSP data-paths. The device also features low latency loopback and frequency hopping modes targeted at phased array radar systems and electronic warfare applications.

Features:

  • Reconfigurable mixed signal platform design

  • 4 16-bit RF DACs and 4 12-bit RF ADCs (4T4R)

  • Usable RF analog bandwidth to 18GHz

  • Fast detect with low latency for fast AGC control

  • Spectrum sniffer and monitor

  • Signal monitor for slow AGC control

  • Multiple loopback (ADC to DAC)

  • Power amplifier downstream protection circuitry

  • Maximum DAC/ADC sample rate up to 28GSPS/20GSPS

  • Versatile digital features

  • Maximum instantaneous bandwidth of 10GHz per channel (2T2R)

  • Programmable FIR filters at full ADC and DAC sample rates

  • Configurable fine and coarse DDCs and DUCs

  • Fast frequency hopping with profiles

  • Dynamic configuration through SPI, HSCI, GPIO, or external trigger (TRIG)

  • Programmable fractional data rate resampler from 1× to 2×

  • JESD204B and JESD204C: 20Gbps and 28.21Gbps

  • On-chip temperature monitoring unit

  • Package: 24mm × 26mm, 899-ball BGA with 0.8mm pitch

Applications:

  • Radar and phase array systems

  • Seeker front end

  • Tactical defense radio infrastructure

  • Electronic warfare and signal intelligence

  • Wireless communications infrastructure

  • Wireless communications test (5G mmWave, 5G C band, backhaul)

https://media.githubusercontent.com/media/plescaevelyn/adi-documentation/apard-spoe_prod_test/docs/solutions/reference-designs/images/eval_ad9084.png

Recommendations

People who follow the flow that is outlined, have a much better experience with things. However, like many things, documentation is never as complete as it should be. If you have any questions, feel free to ask on our EngineerZone forums, but before that, please make sure you read our documentation thoroughly.

To better understand the AD9084, we recommend to use the EVAL-AD9084 evaluation board.

Table of Contents

  1. Using the evaluation board/full stack reference design that we offer:

    1. User guide - what you need to know about the evaluation board

    2. Prerequisites - what you need to get started with the setup

    3. Quickstart:

      1. Using the Agilex 7/ SoC I-Series

      2. Using the VCU118/VCU128/ Virtex UltraScale+

      3. Using the VCK190/VPK180/ Versal ACAP

  2. Use the board to better understand the AD9084

    1. Linux Applications

      1. IIO Oscilloscope with:

      2. FRU EEPROM Utility

  3. Design with the AD9084

    1. Functional Block Diagram

      1. AD9084 Product page

      2. Full Datasheet and chip design package

    2. Design a custom AD9084 based platform

      1. Linux software

        1. JESD204 (FSM) Interface Linux Kernel Framework

        2. AXI-DMAC DMA Controller Linux Driver

        3. JESD204B Transmit Linux Driver

          1. JESD204B Status Utility

        4. JESD204B Receive Linux Driver

          1. JESD204B Status Utility

        5. JESD204B/C AXI_ADXCVR Highspeed Transceivers Linux Driver

          1. JESD204 Eye Scan

        6. AXI ADC HDL Linux Driver

        7. AXI DAC HDL Linux Driver

Pre-requisites and quickstart

The prerequisites and quickstart guides are provided at:

Functional Block Diagram

https://media.githubusercontent.com/media/plescaevelyn/adi-documentation/apard-spoe_prod_test/docs/solutions/reference-designs/images/apollo_block_diagram.png

Warning

All the products described on this page include ESD (electrostatic discharge) sensitive devices. Electrostatic charges as high as 4000V readily accumulate on the human body or test equipment and can discharge without detection. Although the boards feature ESD protection circuitry, permanent damage may occur on devices subjected to high-energy electrostatic discharges. Therefore, proper ESD precautions are recommended to avoid performance degradation or loss of functionality. This includes removing static charge on external equipment, cables, or antennas before connecting to the device.