EVAL-CN0554-RPIZ

±10 V Analog Input and ±15 V Analog Output for Raspberry Pi Platforms.

The EVAL-CN0554-RPIZ is a flexible, general-purpose multichannel mixed-signal analog input/output (I/O) module. The 16 single-ended analog outputs are software configurable, with ranges of 0 V to 5 V, ±5 V, 0 V to 10 V, and ±15 V. Eight channels of fully differential analog input are provided with hardware selectable input ranges of ±2.5 V and ±25 V. The circuit is designed to mount directly on top of a Raspberry Pi, providing this popular single board computer an analog input/output interface. Software control is accessible through the Linux industrial input/output (IIO) framework.

https://media.githubusercontent.com/media/plescaevelyn/adi-documentation/rpit1lpse_prod_test/docs/solutions/reference-designs/eval-cn0554-rpiz/cn0554.jpg

Figure 1 EVAL-CN0554-RPIZ Circuit Evaluation Board

Equipment Required

  • Hardware

    • EVAL-CN0554-RPIZ Circuit Evaluation Board

    • Raspberry Pi 4

    • Monitor with HDMI display

    • Raspberry Pi 4 Power USB-C Power Supply

    • HDMI to HDMI cable

    • Ethernet cable

    • Female-to-Female Jumper Headers

    • 16 GB or larger SD card with ADI Kuiper Linux image

    • USB keyboard and mouse

  • Software

  • ADI Kuiper Linux

Connectors and Jumper Configurations

The EVAL-CN0554-RPIZ has three main connectors: the 40-pin connector which mounts the board on top of the Raspberry Pi, the 30-pin DAC connector which has the 16 analog output channels and relevant digital I/O, the 30-pin ADC connector which has the 16 analog input channels and relevant digital I/O.

https://media.githubusercontent.com/media/plescaevelyn/adi-documentation/rpit1lpse_prod_test/docs/solutions/reference-designs/eval-cn0554-rpiz/cn0554_connectors.jpg

Figure 2 EVAL-CN0554-RPIZ Connectors

ADC Header

Need details on the input connector and what to inputs go to what pin on the connector and ADC!

The table below shows the different configurations for each jumper header.

Jumper Configuration

Input Range

Shorted Pins 1 and 3, and Pins 2 and 4

±13.75 V

Shorted Pins 3 and 5, and Pins 2 and 6

0 V to 27.5 V

No Connection

2.5 V

DAC Header

Need details on the output connector and which connections go where on the DAC channels.

Dither and Toggle

Need details on which pins this is on for the RPI and which outputs they affect

The EVAL-CN0554-RPIZ has nine jumper headers, eight are for selecting the attenuation of the eight pairs of analog inputs and one is for setting the write protection of onboard EEPROMs

https://media.githubusercontent.com/media/plescaevelyn/adi-documentation/rpit1lpse_prod_test/docs/solutions/reference-designs/eval-cn0554-rpiz/cn0554_jumper_headers.jpg

Figure 3 EVAL-CN0554-RPIZ Jumper Headers

System Setup

Equipment Required

Hardware

  • EVAL-CN0554-RPIZ Circuit Evaluation Board

  • Raspberry Pi 4 Model B

  • Display monitor with HDMI

  • Micro HDMI to HDMI adapter

  • USB keyboard and mouse

  • 16 GB or larger SD card

  • 5 V, 3 A USB Type-C power adapter

  • Female-to-female loopback jumper cables

  • Oscilloscope

  • Digital voltmeter (6-digit or higher)

Software

Documentation

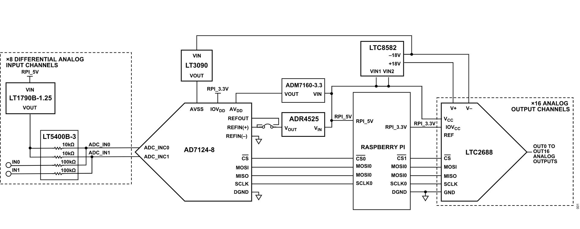
System Block Diagram

https://media.githubusercontent.com/media/plescaevelyn/adi-documentation/rpit1lpse_prod_test/docs/solutions/reference-designs/eval-cn0554-rpiz/cn0554_simplified_block_diagram.jpg

Figure 4 EVAL-CN0554-RPIZ System Block Diagram

Running the System

To set up the complete system, follow these steps:

  1. Connect the EVAL-CN0554-RPIZ to the Raspberry Pi through the 40-pin connector.

    https://media.githubusercontent.com/media/plescaevelyn/adi-documentation/rpit1lpse_prod_test/docs/solutions/reference-designs/eval-cn0554-rpiz/13_-_cn0554_attached_to_raspberry_pi.jpg

    Figure 5 EVAL-CN0554-RPIZ Attached to Raspberry Pi 4

  2. Insert the SD card with the correct ADI Kuiper Linux image to the Raspberry Pi 4 Model B.

  3. Connect the corresponding ADC input and DAC output channel using the female-to-female loopback jumper cables as shown in the connection diagram and image below.

    https://media.githubusercontent.com/media/plescaevelyn/adi-documentation/rpit1lpse_prod_test/docs/solutions/reference-designs/eval-cn0554-rpiz/14_-_cn0554_loopback_diagram.png

    Figure 6 EVAL-CN0554-RPIZ Test Setup with Loopback Connection

  4. Connect HDMI of the Raspberry Pi 4 Model B to the display monitor, and then connect the keyboard and mouse to any of the former’s USB ports.

  5. Power the Raspberry Pi 4 Model B using the USB Type-C power adapter and wait for the Raspberry Pi to boot up.

    https://media.githubusercontent.com/media/plescaevelyn/adi-documentation/rpit1lpse_prod_test/docs/solutions/reference-designs/eval-cn0554-rpiz/15_-_cn0554_test_setup.png

    Figure 7 EVAL-CN0554-RPIZ System Test Setup

  6. Open IIO Oscilloscope and undock the DMM and Debug tabs as shown below.

    https://media.githubusercontent.com/media/plescaevelyn/adi-documentation/rpit1lpse_prod_test/docs/solutions/reference-designs/eval-cn0554-rpiz/16_-_iio_oscilloscope_dmm_and_debug_tab.png

    Figure 8 EVAL-CN0554-RPIZ System Test Setup

    IIO Oscilloscope DMM and Debug Tabs

  7. In the DMM Window, select the ad7124 as the device and select a channel to measure, such as ad7124-8:voltage0-voltage 1. Click on the Play button to start the measurement.

    https://media.githubusercontent.com/media/plescaevelyn/adi-documentation/rpit1lpse_prod_test/docs/solutions/reference-designs/eval-cn0554-rpiz/17_-_iio_oscilloscope_cn0554_dmm.png

    Figure 9 IIO Oscilloscope DMM Window

  8. In the Debug Window, select ltc2688 in Device Selection. In the IIO Device Attributes section, select output voltage1 channel and select raw attribute. Set the value to 32768 and click Write. This should set the output voltage to around 2.5 V which is half of the default output range of 0 to 5 V.

    https://media.githubusercontent.com/media/plescaevelyn/adi-documentation/rpit1lpse_prod_test/docs/solutions/reference-designs/eval-cn0554-rpiz/18_-_iio_oscilloscope_cn0554_debug.png

    Figure 10 IIO Oscilloscope Debug Window

  9. The DMM measurement should show approximately 0.227 V or 1/11 of 2.5 V which is the default input voltage attenuation.

    https://media.githubusercontent.com/media/plescaevelyn/adi-documentation/rpit1lpse_prod_test/docs/solutions/reference-designs/eval-cn0554-rpiz/19_-_loopback_measurement_of_cn0554_analog_io.png

    Figure 11 Loopback Measurement of CN0554 Analog I/O

Software Setup

For the device to run, the SD card should be loaded with Analog Devices Kuiper Linux, a distribution based on Raspbian from the Raspberry Pi Foundation. It incorporates Linux device drivers for ADI products as well as tools and other software products designed and created with ease of use in mind. The reasoning behind creating this distribution is to minimize the barriers to integrating ADI hardware devices into a Linux-based embedded system.

Access to the embedded system can be through a remote PC connected either via LAN cable or Wi-Fi.

Downloading and Flashing Kuiper Linux Image on SD Card

In order to control the EVAL-CN0554-RPIZ from the Raspberry Pi, you will need to install ADI Kuiper Linux on an SD card. Complete instructions, including where to download the SD card image, how to write it to the SD card, and how to configure the system are provided at ADI Kuiper Linux. Write the image and follow the system configuration procedure.

https://media.githubusercontent.com/media/plescaevelyn/adi-documentation/rpit1lpse_prod_test/docs/solutions/reference-designs/eval-cn0554-rpiz/command_prompt.png

Configuring the SD Card for the CN0554

For the Linux kernel to identify the device connected to the expansion header, update the device tree overlay. A Device Tree Overlay contains information about additional connected hardware, the EVAL-CN0554-RPIZ for this case. The overlay file is already included in the SD card and just needs to be matched to the EVAL-CN0554-RPIZ.

Follow the Hardware Configuration procedure under Preparing the Image: Raspberry Pi in the ADI Kuiper Linux page, substituting the following lines in config.txt:

This brings up the file in the terminal. Scroll down until the line that begins with “dtoverlay” is found; then, whatever it currently is, change it to:

Note

Need to add overlay here since it isn’t in Kuiper

dtoverlay=rpi-cn0554

Save the file by Ctrl + X command. Reboot the system by typing on the command prompt:

~$
sudo reboot

Graphical User Interface (GUI) and Example Python Scripts

There are two main tools which a user has the option to interact with the EVAL-CN0554-RPIZ.

Software Control and Diagnostics via IIO Oscilloscope

The EVAL-CN0554-RPIZ can be evaluated using IIO Oscilloscope. Customers can use the debug tab and the DMM tab. Various controls and diagnostics are available in these plug-ins.

Debug Tab

The debug tab provides direct access to IIO device and channel attributes, as well as the registers of the EVAL-CN0554-RPIZ components. The IIO attributes and registers can be read and written for advanced configuration and information.

DMM Tab

The DMM tab provides the ADC readings for the AD7124-8.

PyADI-IIO

PyADI-IIO is a python abstraction module for ADI hardware with IIO drivers to make them easier to use. This module provides device-specific APIs built on top of the current libIIO python bindings. These interfaces try to match the driver naming as much as possible without the need to understand the complexities of libIIO and IIO.

Running the Example

This demo uses a PyADI-IIO example script. This script will show the single-tone frequency with calibrated output power in dBm.

  1. Connect the EVAL-CN0554-RPIZ to the Raspberry Pi.

  2. Open command prompt or terminal and navigate through the examples folder inside the downloaded or cloned pyadi-iio directory.

  3. Run the example script using the command.

…/pyadi-iio/examples $ python3 cn0554_example.py

Note

Update image, file name, and location

GitHub link for the python sample script: CN0554 Python Example

Schematic, PCB Layout, Bill of Materials

Download

EVAL-CN0554-RPIZ Design & Integration Files

  • Schematics

  • PCB Layout

  • Bill of Materials

  • Allegro Project

Hardware Registration

Receive software update notifications, documentation updates, view the latest videos, and more when you register your hardware. Register to receive all these great benefits and more!