AD-SWIOT1L-SL

Software-configurable Analog and Digital I/O with 10BASE-T1L Evaluation and Development Platform.

Introduction

The AD-SWIOT1L-SL is a complete hardware and software platform for prototyping intelligent, secure, network-capable field devices, with applications in factory automation, process control, and intelligent buildings. Some of the main features and benefits include:

  • Ultimate flexibility in I/O interface configurability through software

  • Embedded processing for implementing self-capable edge devices

  • Built-in security for root-of-trust, mutual authentication, data confidentiality and integrity, secure boot, and secure communications

  • Long-range single-pair 10BASE-T1L Ethernet interface

  • Power delivery via the 10BASE-T1L interface or from a field supply enabling both low and high power applications

  • Fully isolated design for safe operation

  • Industry standard form factor compatible with DIN rail mounts

https://media.githubusercontent.com/media/plescaevelyn/adi-documentation/adrd3161_prod_test/docs/solutions/reference-designs/ad-swiot1l-sl/ad-swiot1l-sl_angle-web.jpg

Figure 1 AD-SWIOT1L-SL Development Platform

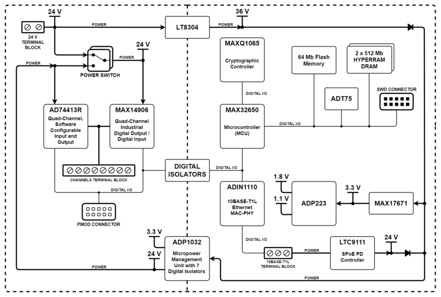
https://media.githubusercontent.com/media/plescaevelyn/adi-documentation/adrd3161_prod_test/docs/solutions/reference-designs/ad-swiot1l-sl/swiot1l_block_diagram.png

Figure 2 AD-SWIOT1L-SL Simplifed Block Diagram

Specifications

I/O

Channels

4 Software-configurable I/O Channels

Digital input

Type 1 and 3, or Type 2

Digital output

High-Side (HS) Switch or Push-Pull (PP) Driver

Analog input

Voltage (0 V to 10 V), Current (0 mA to 25 mA)

Analog output

Voltage (0 V to 11 V), Current (0 mA to 25 mA)

RTD measurements

2-wire RTD (0 Ω to 1 MΩ)

Computing Resources

CPU

MAX32650 Low-Power Arm Cortex-M4 with FPU-Based Microcontroller with Bluetooth 5 for Wearables

Memory

1 Gb RAM

Storage

64 Mb QSPI Flash

Connectivity

Ethernet

10BASE-T1L

Power supply

External power

24 DC at 6 A

Power over Ethernet

SPoE class 12

Operating Conditions

Temperature Range

-25°C to 60°C

Package Contents

The development kit is delivered with a set of accessories required to put the system together and get it up and running in no time.

This is what you’ll find in the development kit box:

  • 1 x AD-SWIOT1L-SL board with enclosure

  • 1 x AD-T1LUSB-EBZ 10BASE-T1L to usb adapter board.

  • 1 x Profibus (1x2x18AWG) cable for Single Pair Ethernet (SPE) connectivity

  • 1 x usb 2.0 cable

  • 1 x cable connector for the external 24 V power supply

  • 1 x cable connector for channels connectivity

The AD-SWIOT1L-SL comes with pre-programmed firmware enabling the system to interface with a PC application for system configuration, control, and data acquisition over the 10BASE-T1L interface.

https://media.githubusercontent.com/media/plescaevelyn/adi-documentation/adrd3161_prod_test/docs/solutions/reference-designs/ad-swiot1l-sl/swiot1l_kit_v1.jpg

Figure 3 AD-SWIOT1L-SL Package Contents

Application Development

The AD-SWIOT1L-SL firmware is based on ADI’s open-source no-OS framework. It includes the bare-metal device drivers for all the components in the system, as well as example applications enabling connectivity via the 10BASE-T1L interface for system configuration and data transfer.

https://media.githubusercontent.com/media/plescaevelyn/adi-documentation/adrd3161_prod_test/docs/solutions/reference-designs/ad-swiot1l-sl/sw_block_diagram.png

Figure 4 AD-SWIOT1L-SL Software Block Diagram

Getting Started with AD-SWIOT1L-SL

Depending on your specific use case for the AD-SWIOT1L-SL platform, these guickstart guides may serve as valuable resources to assist you in navigating your project:

  1. Interact with AD-SWIOT1L-SL using Scopy

  2. Program and debug AD-SWIOT1L-SL application code

    • A step-by-step guide to properly setup and configure your AD-SWIOT1L-SL system

  3. Program and debug AD-SWIOT1L-SL firmware

    • Detailed information about programming and debugging the system

User guides

Help and Support

For questions and more information, please visit the EngineerZone.